北京北方华创微电子装备有限公司近日公布一项专利——“升降针装置、半导体工艺设备及压力控制方法”(申请公布号:cn119230470a,申请公布日:2024年12月31日)。该专利属于半导体领域,旨在解决晶圆在半导体工艺设备中移动和粘连等问题。
☞☞☞AI 智能聊天, 问答助手, AI 智能搜索, 免费无限量使用 DeepSeek R1 模型☜☜☜

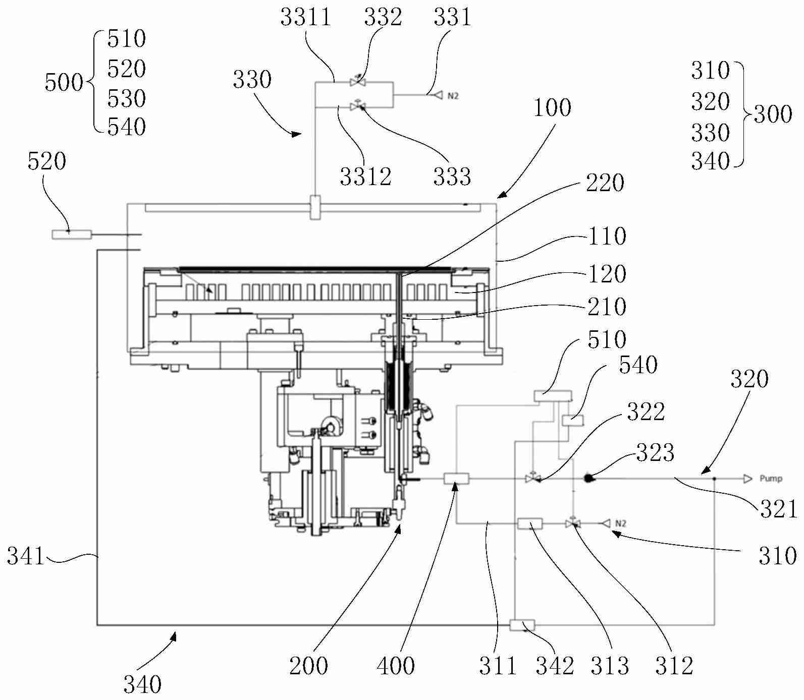
该专利公开了一种新型升降针装置,包括用于升降晶圆的顶针组件和输气组件。顶针组件设有气道,气道一端与晶圆接触,另一端连接输气组件的输气端。输气组件负责向气道充气和/或抽气,从而实现对晶圆的精准控制,有效避免晶圆随意移动或与三针粘连。 这项创新技术有望提升半导体制造效率和良品率。
以上就是北方华创“升降针装置、半导体工艺设备及压力控制方法”专利公布的详细内容,更多请关注php中文网其它相关文章!
每个人都需要一台速度更快、更稳定的 PC。随着时间的推移,垃圾文件、旧注册表数据和不必要的后台进程会占用资源并降低性能。幸运的是,许多工具可以让 Windows 保持平稳运行。
Copyright 2014-2025 https://www.php.cn/ All Rights Reserved | php.cn | 湘ICP备2023035733号