根据天眼查的数据,宁德时代新能源科技股份有限公司公布了“探针装置以及电池检测设备”专利,公布日期为2025年3月11日,公布号为cn119604770a。
☞☞☞AI 智能聊天, 问答助手, AI 智能搜索, 免费无限量使用 DeepSeek R1 模型☜☜☜

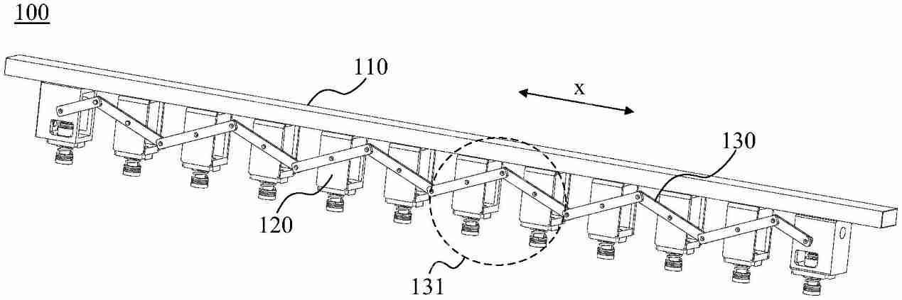
该专利描述了一种探针装置(100)及电池检测设备(10)。探针装置(100)包含:导向件(110),其沿第一方向(x)延伸;多个探针模块(120),这些模块沿第一方向(x)排列在导向件(110)上,其中至少部分探针模块(120)与导向件(110)形成滑动连接,导向件(110)引导这些探针模块(120)沿第一方向(x)滑动;连杆组件(130),包括至少一个连杆单元(131),连杆单元(131)连接于相邻的两个探针模块(120)之间,且在第一方向(x)上具有伸缩功能。该探针装置(100)可实现多个探针模块(120)在第一方向(x)上的无级调节。
以上就是宁德时代“探针装置以及电池检测设备”专利公布的详细内容,更多请关注php中文网其它相关文章!
每个人都需要一台速度更快、更稳定的 PC。随着时间的推移,垃圾文件、旧注册表数据和不必要的后台进程会占用资源并降低性能。幸运的是,许多工具可以让 Windows 保持平稳运行。
Copyright 2014-2025 https://www.php.cn/ All Rights Reserved | php.cn | 湘ICP备2023035733号