支付宝怎么恢复删除账单 支付宝删除账单恢复方法

王林
发布: 2024-07-29 10:50:09
转载
5575人浏览过

在日常使用支付宝时,我们难免会误删一些重要的账单记录。如果发现账单误删,如何恢复呢?php小编苹果为大家详解支付宝删除账单恢复方法,助你轻松找回丢失的账单信息。

支付宝如何恢复删除账单?支付宝删除账单恢复方法

1、首先打开电脑浏览器,搜索进入支付宝官方网站,点击【登录】。

支付宝怎么恢复删除账单 支付宝删除账单恢复方法

2、返然后回个人版支付宝后,点击【交易记录】。

百宝箱
百宝箱

百宝箱是支付宝推出的一站式AI原生应用开发平台,无需任何代码基础,只需三步即可完成AI应用的创建与发布。

百宝箱 279
查看详情 百宝箱
支付宝怎么恢复删除账单 支付宝删除账单恢复方法

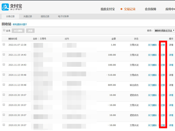
3、跟着点击【回收站】。

支付宝怎么恢复删除账单 支付宝删除账单恢复方法

4、最后找到已删除的账单,点击【还原】即可。

支付宝怎么恢复删除账单 支付宝删除账单恢复方法

以上就是支付宝怎么恢复删除账单 支付宝删除账单恢复方法的详细内容,更多请关注php中文网其它相关文章!

相关标签:
支付宝
支付宝

支付宝,全球领先的独立第三方支付平台,致力于为广大用户提供安全快速的电子支付/网上支付服务,有需要的小伙伴快来保存下载体验吧!

下载
来源:6z6z.com网
本文内容由网友自发贡献,版权归原作者所有,本站不承担相应法律责任。如您发现有涉嫌抄袭侵权的内容,请联系admin@php.cn
最新问题
热门教程
更多>
最新下载
更多>
网站特效
网站源码
网站素材
前端模板
关于我们 免责申明 举报中心 意见反馈 讲师合作 广告合作 最新更新 English
php中文网:公益在线php培训,帮助PHP学习者快速成长!
关注服务号 技术交流群
PHP中文网订阅号
每天精选资源文章推送
PHP中文网APP
随时随地碎片化学习

Copyright 2014-2025 https://www.php.cn/ All Rights Reserved | php.cn | 湘ICP备2023035733号