苏州旗芯微半导体有限公司近日公布一项名为“基于寄存器的失效纠错系统及方法”的新专利(申请公布号:cn119088600a,申请公布日:2024年12月6日)。
☞☞☞AI 智能聊天, 问答助手, AI 智能搜索, 免费无限量使用 DeepSeek R1 模型☜☜☜

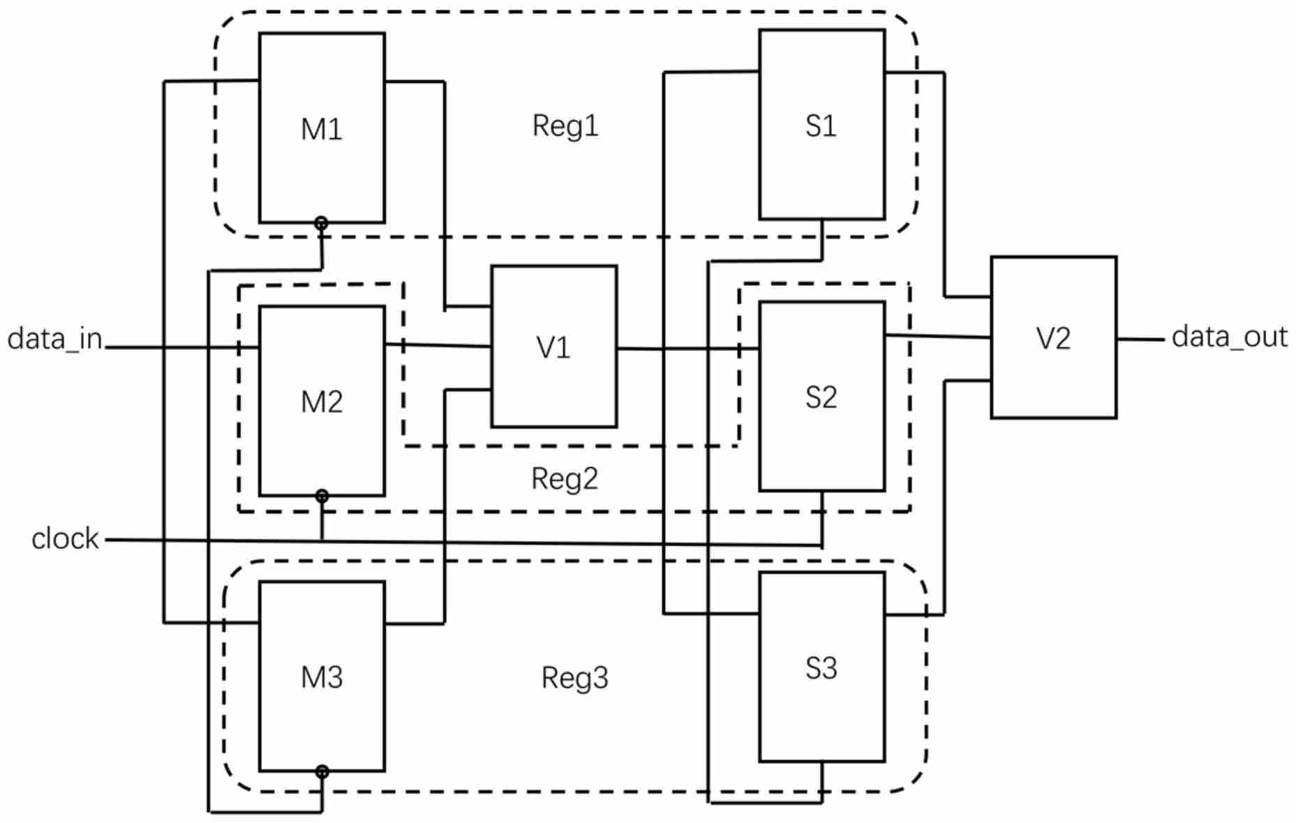
该专利技术提出了一种改进的失效纠错系统和方法。系统采用三个寄存器主单元,它们同时接收相同的输入数据。主单元的输出连接到第一投票单元,进行第一次投票,产生中间数据。此中间数据再作为输入,同时发送到三个寄存器的从单元。从单元的输出连接到第二投票单元,进行第二次投票,最终得到并输出纠错后的数据。 与现有技术相比,该发明显著提高了纠错率。
以上就是旗芯微“基于寄存器的失效纠错系统及方法”专利公布的详细内容,更多请关注php中文网其它相关文章!
每个人都需要一台速度更快、更稳定的 PC。随着时间的推移,垃圾文件、旧注册表数据和不必要的后台进程会占用资源并降低性能。幸运的是,许多工具可以让 Windows 保持平稳运行。
Copyright 2014-2025 https://www.php.cn/ All Rights Reserved | php.cn | 湘ICP备2023035733号